Product Summary
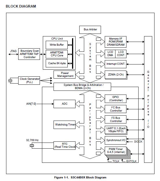
The S3C44B0X01L 16/32-bit RISC microprocessor is designed to provide a cost-effective and high performance micro-controller solution for hand-held devices and general applications. To reduce total system cost, S3C44B0X01L also provides the following: 8KB cache, optional internal SRAM, LCD controller, 2-channel UART with handshake, 4-channel DMA, System manager (chip select logic, FP/ EDO/SDRAM controller), 5-channel timers with PWM, I/O ports, RTC, 8-channel 10-bit ADC, IIC-BUS interface, IIS-BUS interface, Sync. SIO interface and PLL for clock.
Parametrics
S3C44B0X01L absolute maximum ratings: (1)DC Supply Voltage: 3.6 V; (2)DC Input Voltage: 3.3 V Input buffer to 4.6 V; (3)DC Input Voltage: 3.3 V buffer to 4.6 V; (4)Latch-up Current: ± 200 mA; (5)Storage Temperature: - 40 to 125 ℃.
Features
S3C44B0X01L features: (1)Integrated system for hand-held devices and general embedded applications; (2)16/32-Bit RISC architecture and powerful instruction set with ARM7TDMI CPU core; (3)Thumb de-compressor maximizes code density while maintaining performance; (4)On-chip ICEbreaker debug support with JTAGbased debugging solution; (5)32x8 bit hardware multiplier; (6)New bus architecture to implement Low-Power SAMBA II(SAMSUNG’s ARM CPU embedded Micro-controller Bus Architecture).
Diagrams

![]() |
![]() S3C44B0X |
![]() Other |
![]() |
![]() Data Sheet |
![]() Negotiable |
|
||||
![]() |
![]() S3C4510B |
![]() Other |
![]() |
![]() Data Sheet |
![]() Negotiable |
|
||||
![]() |
![]() S3C4530A |
![]() Other |
![]() |
![]() Data Sheet |
![]() Negotiable |
|
||||
![]() |
![]() S3C49F9X |
![]() Other |
![]() |
![]() Data Sheet |
![]() Negotiable |
|
||||
(China (Mainland))








